10:37 Схема вега 50ас 106 | ||
50АС-106-2 Вега
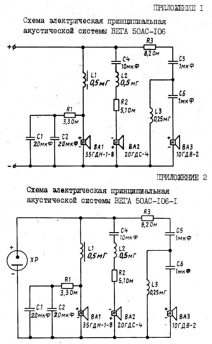
![]() 23 июл. 2021 г. Фильтр для колонки типа Вега-106 8 ом. 3 полосы - НЧ (8 ом), СЧ (8 ом), ВЧ (12 ом. Схема прилагается. Возможна модернизация под другие. Форум Вегалаб![]() 14 июл. 2019 г. Изготовитель: ПО «Вега», г. Бердск. 50 АС-106 «Вега» Назначение и область применения: для высококачественного воспроизведения музыкальных и. Квазиуниверсальный Фильтр Для 3-Х Полосных АС Типа S-90, 50АС-106.![]() Считаю что средняя схема лучше, ведь она применялась ещё на 50АС104, а остальные плод экономии. Думаю сделать свои 106е по схеме 104х. А L2 нужно вернуть 0. 50 АС-106 «Вега» - AudioArt.Ru![]() Паспорт 50АС-106, 50АС-106-1 Вега. Main Menu. Главная · Акустические системы СССР · Статьи · Схемы · Контакты. Паспорт 50АС-106, 50АС-106-1 Вега. Рейтинг@Mail. Восстановление И Модернизация Колонок 50 АС-106 «Вега» | Ldsound.Info![]() Как уже сказано выше, потребуется второй токоограничивающий резистор с номиналом как можно более близким к первому, и резистор сопротивлением 5…20 Ом в качестве. 50 АС-106 «Вега». Расчет Универсального Фильтра | Ldsound.Info![]() 27 окт. 2009 г. Включаем АС, выкручиваем басы на усилителе на максимум и громкость по возможности, проводим рукой вдоль всех стыков и ищем, не дует ли где и не. Восстановление И Модернизация Колонок 50 АС-106 «Вега» | Ldsound.Info![]() Не могу понять где ошиблись, логичнее в колонке было напутать чем на схеме обозначить не так. Подскажите, как все же оставить. Миниатюры. vega. Акустическая Система "Вега 50АС-106" - Советские Акустические.![]() Забей в гугель "Доработка Вега 50АС-106" или что там у тебя. И изучай. Если они не склонны к звону, то ищи проблему в усилке или источнике. Восстановление И Модернизация Колонок Вега 50АС-106 / Хабр![]() схема колонки вега 50ас 106 — статьи и видео в Дзене. Форум ВегалабНЧ второго порядка на частоте 630 Гц,; ВЧ третьего порядка на частоте 6300 Гц. 50АС-106 схема. Наши статьи. 50 АС-106 «Вега» | Ldsound.Info![]() 13 апр. 2009 г. Схемы проигрывателя ВЕГА-106. Сабвуфер на основе 50АС-106 "Вега" 11.01.2005 11:06, Аудиотехника. Динамик От 10мас Улучшает Вегу 50ас. Простая Доработка.вега 50ас 104 схема фильтра — статьи и видео в Дзене. 106 и 25ас-109-2(50ас-104) я разместил на последнем месте из за глуховатых. 50 АС-104 «Вега» | Ldsound.Info![]() схему фильтров ас вега прилагаю. У вас нет доступа для просмотра вложений в этом сообщении. Re: замена сч звена в вега 50 ас 106. Сб окт 20. 50АС-106, 50АС-106-1 Вега![]() Эксплуатация схемы с классом усилительной аппаратуры HI-END грозит разрушением ВЧ драйверов. Хотелось бы прочесть об. Цитата. Eduard Arabadji. Доработка 50 АС-106 «Вега» (На Шаг Ближе К Hi-Fi) | Ldsound.Info![]() Инструкция и схема. Паспорт. 200.00 р. Рязань 150.00 р. Окончание торгов: 24/01 23:14. Продавец: GorS. 50 АС-106 «Вега». Расчет Универсального Фильтра | Ldsound.Info![]() г. Скачать фото, инструкция, схема Акустика Вега 50ас 106, можно ЗДЕСЬ БЕСПЛАТНО Размер 129.54 KB!!! Александр Левчук. 27.9K subscribers. Новые Фильтры Для "Вега 50АС-106" | Сделай Сам | Форум Hi-Fi.Ru9 нояб. 2014 г. По умолчанию Re: Вега 50АС-106 фильтры , доработка. По ссылке один многа многа букаф, но отличное резюме в самом конце: "Мне больше нравится. Акустическая Система Вега 50АС-106. Доработка Или Переделка.![]() Далее был полностью разобран фильтр для проверки его соответствия оригинальной схеме, кстати вот она: Конденсаторы и резисторы по номиналам совпали со схемой. 50 АС-106 «Вега». Расчет Универсального Фильтра | Ldsound.Info![]() Я например просто подключил по двухпроводной схеме "параллельно" своей системе ещё и Вегу 50АС-106, которая была изрядно проапгрейжена с заменой. 50 АС-106 «Вега» - AudioArt.Ru![]() 30 авг. 2005 г. Схема АС "Вега 50 АС-106" Всем доброго дня. Подскажите, где можно найти электрическую схему акустики "Вега 50 АС-106. Заранее благодарен. | ||
|
| ||
| Всего комментариев: 0 | |















